3月3日,重庆市市地方金融局在官方网站公布了《重庆市小额贷款公司名录(截至2025年2月28日)》(以下简称《名录》)。《名录》显示,截至2025年2月28日,重庆共有222家小额贷款公司,其中36家为网络小贷公司,另有四家小贷公司被暂停网贷业务资格。本文将探秘其中两家小贷公司——重庆两江新区宝升小额贷款股份有限公司(下称“宝升小贷”)和重庆乐视小额贷款有限公司(简称“乐视小贷”)被暂停网贷资质的原因。
其中:
1.宝升小贷旗下十几个贷款平台,或涉嫌出租牌照

宝升小贷成立于2013年7月4日,注册资本3亿元,法定代表人郑伟京,公司曾用名为重庆市北部新区宝升小额贷款股份有限公司(2013-07 至 2016-07),参保人数仅2人。目前,宝升小贷为失信被执行人、被限制高消费。
宝升小贷有11名股东,其中10名为自然人,一家企业股东。其中,大股东杨婕为失信被执行人、限制高消费、有股权被冻结;二股东江显超为失信执行人、限制高消费;第八大股东重庆市远洋消防设备工程有限公司也是被执行人、限制高消费、有股权出质;第九大股东也是失信被执行人、限制高消费、有股权被出质。
而法定代表人郑伟京还关联23家企业,其中有多家涉及类金融业务,例如广东汇金典当股份有限公司、深圳商银通互联网金融服务有限公司、深圳市前海汇联天成投资管理有限公司、深圳宝丰股权投资基金管理有限公司等等。
企查查显示,宝升小贷旗下有十几个贷款产品,取得了贝多分、宝银钱包、微品分期和趣借条等四个贷款类APP的著作权。

此外还有APP仁天花极速版(简介自称购买新鲜食材的互联网购物平台,2023年12月被下架)、分期快小程序;以及全业贷、快点救急、金薪玖贷、盛财易贷、商银直贷、鼎盛车贷等六个贷款公众号。

根据公开投诉平台 【下载黑猫投诉客户端】,上述APP均存在不少问题。其中宝银钱包主要涉及收取会员费,虚假承诺、不下款;微品分期则是以购物形式诱导用户充值,但无法退款。
值得注意的是,我们发现宝升小贷存在出租牌照的嫌疑。
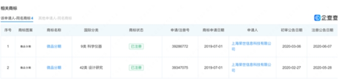
以微品分期为例,2019年7月宝升小贷取得了软件著作权,但同月上海荣世信息科技有限公司却申请了同名商标。2024年4月后者公司已经被注销。
此外,仁天花的APP、商标、网站则隶属于眉山市仁天金服互联网信息咨询有限公司,APP的外观和logo与上文提到的仁天花极速版一模一样。尽管该公司第二大股东刘毅在哈尔滨中壳小额贷款有限公司持股20%并担任监事,但这家小贷公司经营异常且没有任何知识产权。

上述两家公司,与宝升小贷均不存在股权关系。我们推测,上述部分无资质平台通过与宝升小贷公司签订合作或者租赁协议,利用宝升小贷的资质通过应用商店审核,完成APP上架。鉴于宝升小贷曾具备网络小贷资格,上述APP还能打破地域限制,将业务扩展至全国。通过出租牌照,有些小贷公司可以一年“躺赚”数千万利润。
但伴随监管趋严,特别是2025年《小额贷款公司监督管理暂行办法》中明确禁止小贷公司为无资质平台提供通道,并要求对合作机构实行名单制管理,应用商店与加强资质审核,因此通过宝升小贷实现上架的“仁天花极速版”等APP被下架也是必然趋势。
2.乐视小贷风雨飘摇 曾因与第三方违规合作开展业务被采取监管措施

乐视小贷成立于2016年3月10日,法定代表人为金杰,注册资本为3亿元,唯一股东为乐视网信息技术(北京)股份有限公司(下称“乐视网”)。据报道,金杰是原携程网初始创始团队成员,曾先后供职于中国银行(5.470, 0.09, 1.67%)、携程、飞虎在线证券、招商银行(42.890, 1.09, 2.61%)、民生银行(4.200, 0.05, 1.20%),曾担任乐视金融副总裁。
2024年11月29日,金杰与乐视小贷的案件开庭,案号为《(2024)渝0192民初13294号》,金杰请求变更公司登记。
这背后,是股东乐视网的风雨飘摇,目前为失信被执行人、被限制高消费、股权被冻结,创始人贾跃亭如今仍未回国。根据2023年财报显示,乐视营收为2.452亿元,净利润为-21.85亿元,近五年累计亏损186亿元。截至2023年末,乐视网负债总计为239.4亿元,资产负债率高达1312.95%。
作为乐视金融曾经的核心牌照,乐视小贷受母公司业绩影响,也是朝不保夕。
2017年,乐视小贷被乐视网抵押给了融创中国。彼时财务数据显示,2017年,乐视小贷营业收入3846万元,营业成本2198万元,资产总额8.23亿元,负债总额5.24亿元。后传出融创人士进驻乐视金融,但终归没掀起水花。
2019年,乐视小贷曾开发一款名为“贷款乐”的助贷平台,为麦芒钱包、大智钱包等不到10款产品导流。但目前这款产品已难觅踪迹。
彼时,不少报道称乐视小贷业务存在合规漏洞,2020年的监管措施也印证了这一点。
2020年8月,乐视小贷被重庆市地方金融监管局实施监管措施,被暂停网络小额贷款业务资格、责令限期改正、暂停有关融资业务,主要违规事实为“平台和产品不能满足正常开展网贷业务的条件、 高级管理人员不符合监管要求、未经备案开展资产转让、呆账核销程序未履行内部审批流程、向关联方发放贷款占比超限额、与第三方违规合作开展业务”。

2022年2月,乐视小贷被重庆市江北区市场监督管理局列入经营异常名录,原因是“通过登记的住所或者经营场所无法联系”。
2025年2月20日,乐视小贷被重庆市江北区人民法院列为被执行人,金额为16,090.00元。
企查查信息显示,目前乐视小贷旗下知识产权25个,取得了贷款汇、借钱花、乐享钱包三个软件的著作权,还有钱包贷款、小马借钱、借款易、来钱快、信用贷、贷款超市等现金贷相关的22个小程序。但经过搜索,新经济观察团发现上述APP和小程序基本上已经下架。

而除了小贷业务,乐视金融也已经土崩瓦解。
2016年11月,乐视金融第一次以集团形象亮相,彼时的CEO王永利宣布乐视金融将涵盖五大业务,包括网络支付、金融产品交易平台、理财、信贷、财经资讯,并计划在四年后至少追上京东金融。
但如今,小贷公司被取消网络业务资格,乐视金融旗下其他业务也已低调落幕。其中,2023年10月,重庆乐视商业保理有限公司更名为重庆博之汇科技有限公司,不再开展保理业务,法定代表人从金杰换为刘延峰;2020年10月,上海景民融资租赁有限公司被注销;2020年12月,乐视股权众筹服务(嘉兴)有限公司被注销。此外,金杰担任法人的其他十余家公司也被注销。
此外,乐视金融还曾开展理财业务。2018年初,乐视金融更名为“乐为金融“,是理财端APP的运营主体。有意思的是,在上线初期,乐视的理财业务曾多次卷入违规发行资产证券化产品、底层资产不透明等质疑之中,且一直否认为P2P平台。但2018年又开始寻求备案。
2020年2月20日,乐为金融在官方网站发布良性退出公告,称累计撮合金额1.58亿元,未来将不再从事P2P业务,已于2019年11月起暂停了新产品的上标,并将于2020年2月20日起期关闭注册、充值等功能。
过去几年,汽车金融、现金贷等业务迅速发展,手握多张牌照的乐视本可以借金融大展手脚。然而,乐视集团急转直下,乐视金融有心无力,引入银行系高管也未能扭转颓势。乐视金融曾许下的“四年后至少追上京东金融”的梦想也逐渐被淡忘。
见证过乐视金融高管曾经的意气风发,新经济观察团小编目睹如今其牌照和业务的团灭,不得不叹息。






















































