9月5日,据山西日报报道,山西省原政协委员王少华涉嫌犯罪已被依法刑事拘留,政协第十三届山西省委员会常务委员会第八次会议依照《中国人民政治协商会议章程》有关规定,决定撤销王少华政协第十三届山西省委员会委员资格。
该决定内容显示:鉴于省政协委员王少华涉嫌犯罪已被依法刑事拘留,政协第十三届山西省委员会常务委员会第八次会议依照《中国人民政治协商会议章程》的有关规定,决定撤销王少华政协第十三届山西省委员会委员资格。

王少华是山西省民促会(世界晋商论坛)青年联合会常委 ,山西省不良资产管理协会副会长 ,大同市商会副会长,大同市民营经济联合会副会长,山西省工商联执委,山西光彩事业促进协会常务理事,浑源县工商联主席 ,山西省第十二届政协委员,山西省第十三届政协委员(2024.09被撤销),山西华泰绿康科技发展有限责任公司董事长。
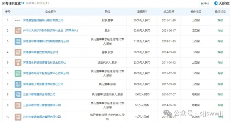
据天眼查显示,王少华系浑源县华泰绿康科技发展有限责任公司的法人、实控人,他持有该公司95%的股权。该公司成立于2002年,注册资本3118万元,位于山西省大同市浑源县,主要从事农业等相关业务。

此外,王少华还持有浑源县永安镇恒源鑫农村资金互助社10%的股权,浑源县市场用车服务运营中心有限公司98%的股权,三亚华泰海鑫实业有限公司90%的股权,三亚华泰怡海公寓管理有限公司98%的股权,北京华泰绿康酒店管理有限公司100%的股权。王少华是上述公司的法人,还是浑源县市场用车服务运营中心有限公司、三亚华泰海鑫实业有限公司、三亚华泰怡海公寓管理有限公司和北京华泰绿康酒店管理有限公司的实控人。



王少华名下现有华泰绿康(北京)酒店管理公司、华泰餐饮有限公司、市场用车服务有限公司、农村资金互助社、北岳恒山山泉水有限公司、三亚华泰怡海旅游度假中心等多个经济实体,注册资金总规模达到8500万元、拥有固定资产6.2亿元,完成综合经济效益和产值3.5亿元,实现利税2300万元,累计安置就业从业人员780人。
注意到,政协委员不是终身制“职业”。政协委员可以自行宣布退出,也可能被撤销资格,被撤销资格一般意味着严重违反了政协章程或全体会议和常委会的决议。
按照《中国人民政治协商会议章程》的规定,参加中国人民政治协商会议全国委员会和地方委员会的单位和个人,如果严重违反中国人民政治协商会议章程或全体会议和常务委员会的决议,由全国委员会常务委员会或地方委员会常务委员会分别依据情节给予警告处分,或撤销其参加中国人民政治协商会议全国委员会或地方委员会的资格。






















































