山西阳光焦化集团股份有限公司成立于1998年7月22日,山西阳光焦化集团股份有限公司(简称“阳光集团”)创始于1992年,经过30年的发展壮大,现已成为集“煤炭开采、原煤洗选、焦炭冶炼、焦油加工、精细化工、碳新材料、自备电厂、铁路专线发运、物流商贸、国际贸易”等为一体的清洁环保型煤焦化工与碳基新材料企业集团。
山西阳光焦化集团总部位于山西省河津市。
公司已形成了以“焦炭—焦副产品—焦油深加工—炭黑—精细化产品—炭基材料等”为主的煤基干馏循环经济产业链,在长期市场需求演变下探索出一条以碳基产品与特色精细化工产品高度协同、互为资源、综合利用的,具有核心竞争能力的循环经济发展道路。公司未来两年将在持续做强煤化工和精细化工主业的前提下,依据市场需求变化不断延伸与优化产品结构,强化公司产品循环经济产业链,降低生产成本,稳步提高企业综合经济效益。在未来,公司将在国家“碳达峰碳中和”政策指导与指引下,围绕“低碳绿色高质量发展”理念,以“新能源、新材料、新技术、新产品、新产业”为着力点,全力创新碳基产业生态发展之路。
2017年8月17日山西阳光焦化集团首次与霍州煤电集团合作,在霍州煤电集团河津福星煤业有限责任公司持股41.613%。
![]()

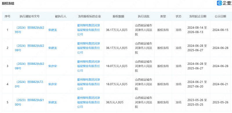
从2023年5月26日开始至2024年8月15日,霍州煤电集团河津福星煤业有限责任公司股东柴建龙所持股权,被山西运城市河津市人民法院先后冻结股权5次,据企查查资料显示,柴建龙的产业主要在河津市,与山西阳光焦化集团为同一地方。

从企查查看到,山西阳光焦化集团的合作企业霍州煤电集团有限责任公司亦是被执行人。2024年7月16日被山东省青岛市李沧区人民法院立案执行。























































