山西格瑞特建筑科技股份有限公司是中国建材联合会混凝土外加剂分会成员单位、山西建筑业协会砼外加剂专业委员会常务理事单位,是质量、职业健康安全、环境管理三体系和铁路产品CRCC认证企业,是集产品研发、生产、销售、服务、技术咨询、现场服务于一体的科技型企业,曾多次被评为省优企业和信用单位。
公司位于运城市盐湖工业园区,大运高速路北口旁,交通便利。占地61280㎡,建筑面积:36518㎡。现有职工200人,其中大专以上管理人员35人,高级工程师15人,高工级专业技术顾问5人,工程师10人,经济师5人,另有技工80人,其它工人50人。

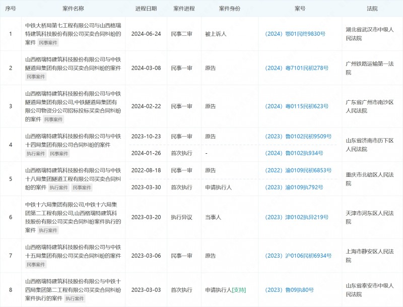
(截图来源:企查查)
4.76%的案件身份为被告,76.19%的案件身份为原告;
85.71%的案件为民事案件;
71.43%的案件案由为买卖合同纠纷;
19.05%的案件属地为陕西;
52.38%的案件处于民事一审阶段;
近五年内26.67%的案件年份为2023年,占比最高。

(截图来源:企查查)
2024年上半年,多次进行招投标。






















































