蓝科途主要从事湿法锂电池隔膜的工艺研发、制品生产和销售服务,公司秉承“品质第一,效率第二,效益第三,追求卓越”的理念,以“自主研发、自有技术、自造设备、自强不息”为导向模式,瞄准锂电池隔膜这一“卡脖子”技术,在功能性锂电复合隔膜方向可提供超改性陶瓷涂覆隔膜、油性PVDF涂覆隔膜、新型芳纶涂覆隔膜等产品,青岛、山西两大生产基地已投产,并在四川、安徽等地加速布局更多生产基地。
山西蓝科途新材料科技有限公司
在2019年7月8日,注册资本由5000万元增资15000万元到20000万元。
![]()
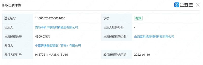
在2022年1月19日,由控股公司青岛中科华联新材料股份有限公司出质4500万元。

在2023年9月14日,注册资本由20000万元增资30000万元到50000万元。
![]()
在2024年4月1日,由控股公司青岛中科华联新材料股份有限公司出质2000万股。























































