智林信息技术股份有限公司为国内当先的智慧教育服务商(股票代码872511),是一家以信创产业生态基础框架体系为依托,将大数据、云计算、人工智能等新一代信息技术与教育现代化需求相结合,为教育行业提供安全、可信、可控的全栈式信息化产品及综合解决方案的国家高新技术企业。
智林信息于2017年12月挂牌新三板,2020年5月进入创新层,现已发展成为国内当先的教育信息化龙头企业。公司先后被评为中国产学研合作创新示范企业、国家级专精特新小巨人企业、国家级高新技术企业、国家级软件企业、山西省重点上市后备企业、省级(优秀)企业技术中心、山西省民营准独角兽企业、最具潜力民营企业以及山西省科普教育基地等。

智林信息技术股份有限公司董事长 陈玉
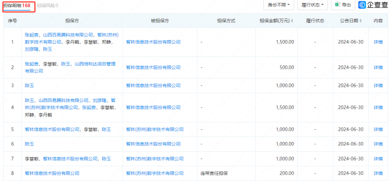
从2018年的12月31日到2024年的6月30日,截至今日,智林信息技术股份有限公司担保次数共计168次,2024年6月30日,数人及其公司为其做好担保。

然而一个多月之后,8月8日新三板智林信息发布2024年半年报业绩报告。2024年1月1日-2024年6月30日,公司实现营业收入4936.44万元,同比增长2.98%,净亏损2421.63万元,亏损同比减少5.73%,基本每股收益为-0.4300元。

该公司是从什么时候开始进行担保的?小编通过查询,在2018年的12月31日,智林信息技术股份有限公司就开始多次为自己进行担保,其中,2018年担保次数为4次,2019年担保次数为7次,2020年担保次数为3次,2021年担保次数为16次,2022年担保次数为70次,2023年担保次数为60次,2024年担保次数为8次。
在今年的6月25日,智林信息技术股份有限公司全资子公司山西百易腾科技有限公司拟向中国银行股份有限公司太原并州支行申请流动资金贷款1,000.00万元,期限12个月,年利率不超过5%。由智林信息提供连带责任保证担保,董事长陈玉及其配偶提供个人连带责任保证担保。

又在7月23日,智林信息技术股份有限公司全资子公司智林数字拟向苏州银行股份有限公司木渎支行申请综合授信额度1,000.00万元,期限不超过12个月,年利率不超过3.2%。该笔授信由公司提供连带责任保证担保,公司董事长陈玉及其配偶提供个人连带责任保证担保。

在2023年8月16日,新三板智林信息发布2023年半年报业绩报告,该公司也是属于净亏损的状态,在发完报告之后,智林信息技术股份有限公司全资子公司再次进行贷款担保。


在2024年4月19日,智林信息技术股份有限公司发布2023年年度报告,营业收入及净利润增加,是否与为全资子公司进行贷款担保有关,今年是否还能继续止亏转盈?
![]()






















































