和合期货有限公司是1993年由中国证监会批准,工商局核准登记注册的专业期货公司。公司现拥有大连商品交易所、郑州商品交易所、上海期货交易所、中国金融期货交易所席位,能够代理国内所有上市的期货品种,为客户提供交易、结算、交割、咨询、培训等方面的服务。和合期货秉承晋商“唯才是举”的人才观和“和衷共济、合作共赢”的经营理念,立足于山西,面向全国,打造规范、专业、现代的金融企业。公司现面临与央企进行重组的重大发展机遇,需引入大量高品质的各类人才,欢迎应届毕业生,相关产业人士,金融从业人员以及有识之士加入和合期货。我们的团队:奋发向上和睦团结我们的观念:务实勤奋敬业创新热情高效。
和合期货有限公司近年来获得的荣誉:2018年、2019年荣获大连商品交易所十大期货投研团队;2020年荣获投资者教育与保护工作优秀机构;2021年在第十五届全国期货(期权)实盘交易大赛,第八届全球衍生品实验交易大赛中,荣获优秀机构服务奖;2022年在股东来了知识竞赛中,荣获山西证券业2022最受欢迎的投资者教育产品奖;2022年荣获大连商品交易所优秀会员进步奖;2022年荣获上海期货交易所市场进步奖。
但目前多个公司文字和图形商标均显示无效状态。


且在2016年至2017年期间,三次被山西吉达工程有限公司出质和合期货有限公司股权。

2024年7月被山西省太原市迎泽区人民法院执行,和合期货有限公司成为被执行人,执行标的:720万元。

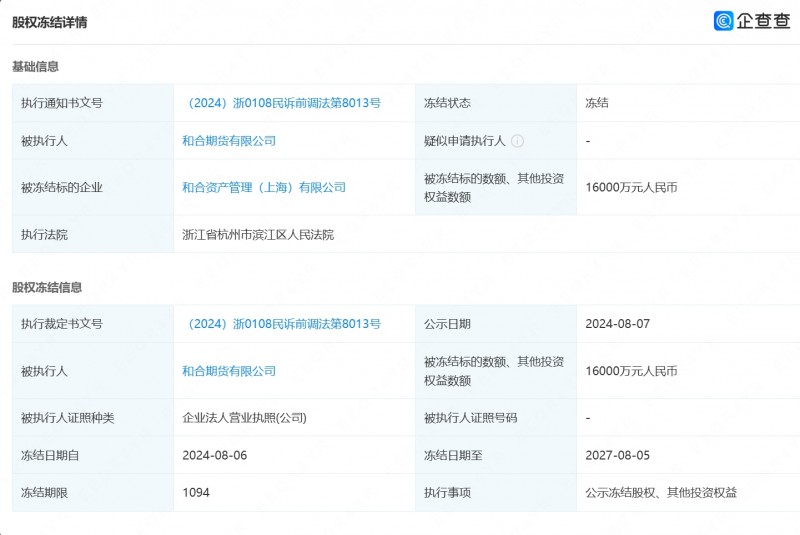
2023年十月被浙江省杭州市滨江区人民法院冻结股权数额1600万元人民币,仅隔一年,2024年八月再次被浙江省杭州市滨江区人民法院冻结股权数额16000万元人民币,冻结数额直接翻十倍。


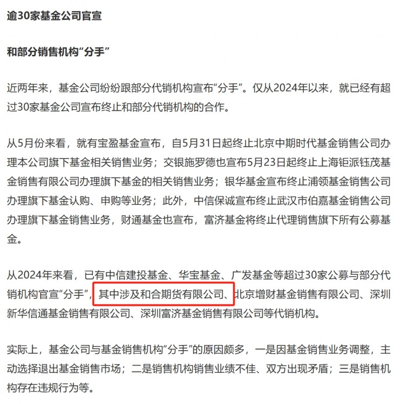
在2024年逾30家基金公司官宣和部分销售机构“分手”,其中涉及和合期货有限公司。























































