有一个地方的国资委,被公认为投资界的“扫地僧”,控股或者参股的上市企业超过40家,总资产超过5万亿元。每次在企业危机时刻,它都会看准时机,出手救援,并取得巨大成功。从“宝万之争”赶走野蛮人姚振华,拿下万科,到美国打压华为,出手接盘荣耀,再到差点接手苏宁。一桩桩事迹,让它获得了“最牛国资委”的称号,它就是深圳国资委。

可如今,这个最牛国资委的日子不太好过,因为它踩到了房地产的雷。
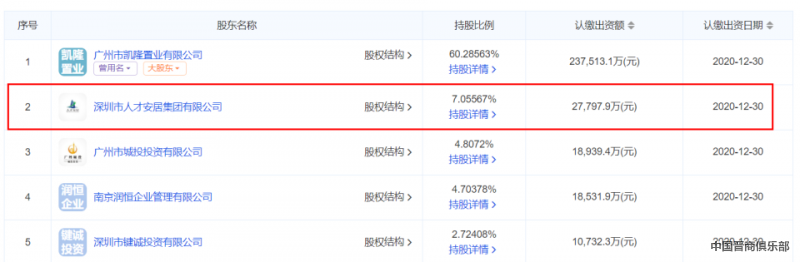
最近,中国国际经济贸易仲裁委员会作出裁决,要求深圳市人才安居集团向山东高速子公司畅赢金程支付股权转让款本金20亿元,以及利息、逾期付款违约金等相关费用。深圳市人才安居集团是由深圳市国资委100%持股,是根正苗红的国企。

恒大暴雷后,一堆人说被坑惨了。其实,还有一个大苦主,一直默不吭声,它就是深圳市人才安居集团。
从天眼查可以看到,深圳市人才安居集团是恒大地产集团的第二大股东,持股7.05%。深圳人才安居的股份,正是从山东高速集团收购来的。
2017年,恒大搞了1300亿战略投资,山东高速出资230亿元,成为了恒大地产第二大股东。到了2020年,由于回A股上市无望,恒大对赌失败,需要原价回购投资者的股份,但是恒大没钱,就搞了债转股。
山东高速不同意,要求退出。于是,深圳国资委出手救援了,派出深圳人才安居出资250亿元接盘。

现在回过头来看,深圳人才安居在2020年12月30日入股恒大,比49年入国军还惨。因为恒大从2019年就开始财务造假,公司早就不行了。深圳人才安居花的250亿元,一分钱还没收回来,恒大就暴雷了。在公司破产赔偿顺序中,股东差不多排在最后。
所以,深圳市人才安居集团真的是踩中了恒大这颗大雷,这250亿元,基本打水漂了。
深圳国资委踩中的第二颗地产雷是华南城,今年2月,华南城公告称预期不会支付2月9日到期的一笔强制赎回款和2月12日到期的一笔利息。
随后,这家公司第一大股东深圳市特区建设发展集团跳出来说,确认华南城上述两笔债务均未支付,这意味着华南城正式违约。深圳市特区建设发展集团也是由深圳市国资委100%持股,本身就有房地产业务。

相比恒大,无论是知名度,还是规模,华南城都不是一个档次。在《2023年中国房地产企业操盘榜TOP200》上,华南城只有30亿元,排在第200名。
不过,深圳特发集团入股华南城,像是去做慈善。2021年下半年,华南城就出现债务问题。2022年5月,深圳特发集团才收购华南城29.28%的股份,成为第一大股东。

8月,华南城立即拿到第一笔钱,兑付了境内一只债券。2023年3月,又帮华南城拉来了60亿银行贷款。而深圳特发集团又先后出资12.57亿元、50亿元收购了华南城旗下项目的股权。
可惜的是华南城债务问题根本解决不了,很多债主都在要求还钱,华南城很有可能走向破产重组。无论是哪种结果,深圳特发集团投入这么多真金白银,必定是亏惨了。
为什么要在华南城出现问题的时候入股,去接盘它的项目,这个问题值得深思,造成的国有资产损失,谁来负责?
现在还有一颗可能会爆的雷,那就是万科。去年11月,万科遭遇股债双杀,除了得到大股东深圳地铁集团的力挺外,深圳国资委站出来表态:如遇极端情况,将通过一切手段帮万科积极应对。

今年3月,没想到万科再次遭遇股债双杀,三大国际评级机构都下调了万科的评级,穆迪更是将万科列入“垃圾级”。
虽然万科通过筹集资金,支付了最近的一笔到期债务。可是未来一年的债务超过445亿元,偿债压力非常大。很明显万科没钱了,光靠外面输血,只能解燃眉之急。关键还是要靠卖房子,但今年1-2月万科销售额同比下滑43.03%。
有人算了一笔账,当初深圳地铁以664亿元接盘万科,除去192亿元分红,万科现在的股票价值,深圳地铁亏了166亿元。万科到底会不会暴雷,上半年预计就会有结果。
深圳国资委这么多年战绩辉煌,没想到踩到了房地产这颗大雷,有损其“扫地僧”的形象。不过,深圳国资委的实力还是很强的,伤不到根本。






















































