8月19日,山西杏花村酒业集团有限公司和山西杏花检测技术有限公司正式揭牌成立。中国酒业协会理事长宋书玉,吕梁市委副书记、市长张广勇一同为两家公司揭牌。

企查查显示,山西杏花村酒业集团有限公司由山西离柳焦煤集团有限公司(持股80%)和吕梁市国有资本运营有限公司(持股20%)共同组建成立,注册资本2.5亿元,旗下拟设质检、原粮、储酒、制曲、品牌、销售等六个子公司。与山西汾酒的注册地一样,山西杏花村酒业集团有限公司的注册地也在汾阳杏花村。
山西杏花检测技术有限公司成立于2022年7月,由山西杏花村酒业集团有限公司百分百控股,是一个集食品、水质、空气、土壤环境、酒类检测为一体的国家级白酒检验检测机构。以建设白酒产业“公正、权威、共享、创新”的第三方检验检测公共技术服务平台和科学系统的质控体系为目标,为吕梁白酒产业提供高效优质服务和重要技术支撑。

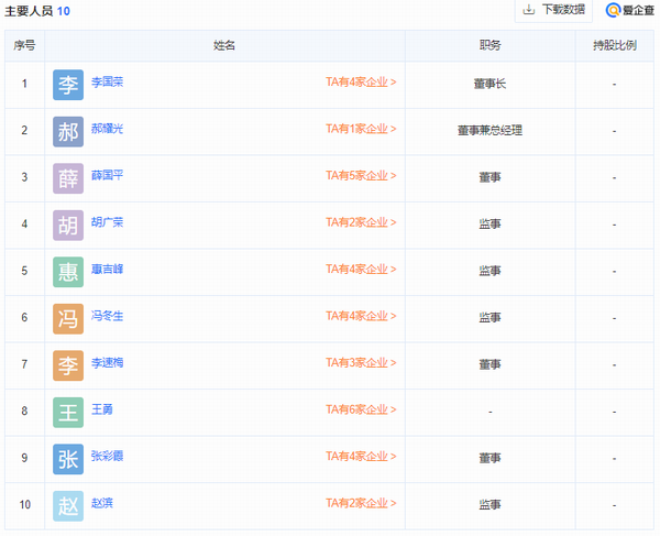
从人员配置来看,山西杏花村酒业集团有限公司十分有阵容,两家公司法定代表人均为李国荣,同时担任山西杏花村酒业集团有限公司董事长,山西杏花检测技术有限公司执行董事兼总经理。

而李国荣系山西离柳焦煤集团有限公司董事,山西离柳鑫瑞煤业有限公司、山西杏花村酒业集团有限公司等公司高管。

山西杏花村酒业集团有限公司的董事薛国平、张彩霞、惠吉峰均在吕梁市国有资本运营有限公司担任高管职务;董事长李国荣担任母公司山西离柳焦煤集团有限公司的董事;监事赵滨、胡广荣以及冯东生同时担任母公司山西离柳焦煤集团有限公司的监事职务;董事兼总经理郝耀光则曾担任山西汾阳杏花村经济技术开发区投资开发有限公司法定代表人、董事长兼总经理,山西汾阳市杏花酒业有限公司法定代表人和执行董事,汾阳杏花村经济技术开发区管委会常务副主任、主任。

山西离柳焦煤集团有限公司前身为吕梁地营兑镇煤矿,始建于1955年,2002年改制为离柳焦煤集团,目前已发展成为集采煤、洗选、焦化、发电等多产业的大型国有煤焦企业集团,是国家重要的主焦煤生产基地,也是吕梁市龙头市属煤企,全国煤炭工业百强企业之一,下设六座生产矿井以及两座洗煤厂,煤矿核定总生产能力600万吨/年,现有在册员工近8000人,拥有资产150亿元,年收入逾20亿元。
山西离柳焦煤集团公司下设16个分(子)公司,分布于孝义市、汾阳市、中阳县、临县以及内蒙古鄂尔多斯市。离柳集团是国家重要的主焦煤生产基地,下设六座生产矿井以及两座洗煤厂,煤矿核定总生产能力600万吨/年,井田面积46.07平方公里,可采储量2.1767亿吨。主要产品有主焦煤、动力煤、精煤等,具有热值高、低灰、低硫、易于洗选加工、结焦性好等特点,是冶金、炼焦、制气、化工、电力、建材等行业理想的原料和燃料。

集团法定代表人和董事长为杨虎平,集团大股东为吕梁市国有资本运营有限公司,杨虎平同时为吕梁市国资运营公司董事长。
此外,其股东也还包括山西省财政厅、美锦能源集团有限公司、山西潞宝集团焦化有限公司、华融晋商资产管理股份有限公司等。
这也就意味着,子公司山西杏花村酒业集团有限公司和山西杏花检测技术有限公司同样拥有着强大的国资背景。

揭牌仪式上,吕梁市委副书记、市长张广勇指出,近年来,吕梁按照“以酒为基、以旅为纲、酒旅融合、多元发展”总体思路,加快推进白酒产业发展壮大,奏响了从高粱种植、到酿酒加工、再到酒旅融合的“三部曲”。
山西杏花村酒业集团有限公司和山西杏花检测技术有限公司揭牌成立是吕梁市整合各方资源、塑造区域品牌、提升白酒品质的创新之举,是推进白酒产业更高质量、更高效率、更为安全发展的务实之策。张广勇希望山西杏花村酒业集团要抢抓机遇,乘势而上,在基酒整合、品牌塑造、标准引领等方面走在前、树标杆,努力打造吕梁白酒行业的新旗舰。汾酒集团要发挥人才、技术、资源优势,助推杏花村酒业集团实现快速发展,着力打造双行并立、双核多点的发展新格局。同时希望中国酒业协会能一如既往地支持吕梁,深化交流合作,实现共赢发展,助力吕梁打造世界级的白酒核心产区。
就在同日,吕梁市委副书记、市长张广勇还参加了2022中国杏花村国际酒业博览会重要活动之一——中国清香型白酒市场与消费趋势论坛。
他在论坛上表示,未来五年,吕梁将以实现“白酒产能达到50万吨、产量50万千升、产值突破500亿元、年游客量500万人次、文旅产业年纯收入超过50亿元”为目标,全力打造世界级清香型白酒核心产区和世界知名的酒文旅融合发展示范区,做大做强汾酒集团和杏花村酒业集团“两大龙头”,积极培育壮大“十朵小金花”白酒企业,加快构建“双雄并立、两核多点”的白酒产业发展新格局。同时将大力推动清香白酒品质、产品、工艺、营销不断升级,更好地满足消费者对高品质、多样化、个性化的产品需求。
近年来,吕梁市白酒产业实现高质量发展,已经成为吕梁市支柱产业。截止5月底,吕梁市共有酒类生产企业203家,其中白酒生产企业128家,专营配制酒生产企业75家。白酒产能35万吨,其中规上产能25万千升。2016年到2021年,全市白酒产量从8.2万千升增加到18.5万千升,占到中国清香型白酒的五分之一、山西省的三分之二以上。白酒产量、产值和税收收入实现翻番,产业集聚集群发展的格局初步形成,成为吕梁市又一大支柱产业。






















































