作为此前乔旅股份的控股方,山西新祁旅游曾因乔家大院改制深陷舆论漩涡。

文|闻旅
企查查显示,7月26日,山西省新祁旅游有限公司(以下简称“山西新祁旅游”)被申请破产重整,其案号为(2022)晋0727破申4号,申请人为青岛晨鸣弄海融资租赁有限公司。

同日,山西新祁旅游母公司祁县华丰投资开发建设有限公司(以下简称“祁县华丰投资”)也被申请破产重整,其案号为(2022)晋0727破申5号,申请人同为青岛晨鸣弄海融资租赁有限公司。

查询可以发现,上述两家公司被申请破产重整并不让人意外,因为在此之前,山西新祁旅游、祁县华丰投资已经危机尽显。
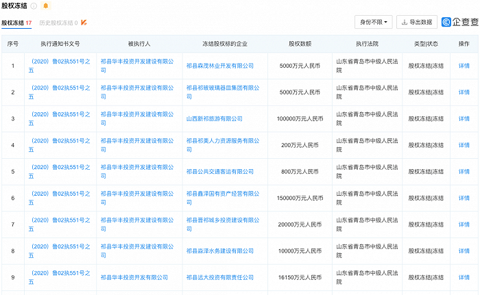
信息显示,目前山西新祁旅游有2条被执行人信息,被执行总额达9896.47万元,且旗下多家公司股权被冻结;母公司祁县华丰投资境况则更为惨淡——股权冻结信息多达17条,被冻结股权数额总额高达数十亿。

祁县华丰投资成立于2012年8月,注册资本为50000万元人民币,公司由晋中市工业和信息化局(晋中市人民政府国有资产监督管理委员会、晋中市小企业发展促进局)旗下的山西晋中国有资产经营有限公司全资控股。
至于山西新祁旅游,该公司成立于2015年4月,注册资本为100000万元,在山西新祁旅游众多的对外投资信息中,其持股13%的山西乔家大院旅游股份有限公司(以下简称“乔旅股份”)尤为引人注意。事实上,作为此前乔旅股份的控股方,山西新祁旅游曾因乔家大院改制深陷舆论漩涡。
改制频频引发争议
相关资料显示,乔家大院坐落于晋中市祁县乔家堡村,建于1755年,因其观赏、科研和历史价值丰厚,被称为“北方民居建筑的一颗明珠”,素有“皇家有故宫,民宅看乔家”之说,1965年,乔家大院被列为省级文物保护单位;1986年,乔家大院作为景点对外开放,后因拍摄《大红灯笼高高挂》《乔家大院》等影视剧作,乔家大院自2006年起声名大噪,相关数据显示,当年乔家大院门票收入达到3000万元。而同年祁县财政收入仅2.9亿元,乔家大院之于地方的重要性可见一斑。
为加速资源“变现”,祁县政府很早便启动了乔家大院经营主体改制事宜,但“归功于”品牌盛名带来的高关注度,其改制过程屡屡引发争议。
2007年,祁县注册成立祁县远大投资有限责任公司,代表祁县全权经营管理乔家大院。同年12月,祁县与上海盛富投资管理有限公司(即盛富泛亚集团有限公司)、重庆中昊投资有限公司签订意向书,乔家大院的经营权被折为股本,归入三方共同出资成立的“山西乔家大院旅游开发有限公司”。根据协议,上述新成立的公司经营期限是20年,景区门票收入全部归新公司,新公司每年向祁县政府交付“文保管理费”1000万元。其余收益按照股权进行分配,国有股份仅占25%。
因被质疑“贱卖国有资产”,此举遭到乔家大院景区职工和当地村民强烈反对。2008年1月,国家文物局、山西文物局等文保部门,以乔家大院的经营权作价入股、把乔家大院作为企业资产交由公司经营不符合《中华人民共和国文物保护法》等相关规定为由,叫停了上述交易。
2008年6月,祁县国资委宣布同意成立山西乔家大院旅游股份有限公司,盛富泛亚为发起方,认购乔旅股份2800万股,持股70%。其余两名发起方分别是祁县国有资产经营有限责任公司和祁县乔家堡旅游景点开发有限公司(以下简称“乔家堡旅游”)。
2009年4月,在二期注册资金尚未补足的情况下,上海盛富将自己手中绝大部分股权转让给了另外两方,此次转让后,乔旅股份股权结构为代表祁县政府的祁县国有占比77.5%,代表乔家堡村民的乔家堡旅游占比20%,上海盛富股份为2.5%。
转眼来到2015年,当年4月,祁县国有资产经营公司投资成立山西新祁旅游有限公司,此后在县委、县政府推动下,祁县国资公司将所持山西乔家大院旅游股份有限公司77.5%的股份,全部划拨给山西新祁旅游。同年底,祁县人民政府下发《祁县人民政府关于山西新祁旅游有限公司的批复》,原则同意山西新祁旅游有限公司转让其持有的乔旅股份77.5%股份中的45%股份。
2016年3月,山西景世恒华旅游开发有限公司(以下简称“景世恒华”)以5220万元人民币,竞拍获得山西新祁旅游有限公司持有乔旅股份45%的国有股权,获得了乔家大院的控制权。
同年8月,乔旅股份引入外部投资者增资,乔家大院公司注册资本由4000万元增加至1亿元。其中,景世恒华增资1400万元,北京水木华光文化传媒有限公司增资2300万元,北京新星艺达文化传播有限公司增资1200万元,北京星睿天诚文化传媒有限公司增资1100万元。增资完成后,景世恒华持股32%,成为乔家大院公司第一大股东;而原第一大股东祁县国资通过山西新祁旅游有限公司持有13%,仅位列第三大股东。
据公开信息,景世恒华(现名为山西景世恒华文化传播有限公司)成立于2015年10月,公司法定代表人唐凯1989年出生,成为乔旅股份实际控制人时年仅27岁。其父唐银龙为山西华都集团董事长,该公司是一家集房地产开发、煤炭销售、小额贷款、金融投资、慈善事业于一体的综合性民营企业。
在此次股权变更后,乔家大院门票涨价。2014年乔家大院入选5A级景区时,票价为72元;2017年5月起,门票价格大涨至138元。而除门票虚高外,包括过度且无序的商业开发、景区管理混乱等在内,乔家大院的运营管理饱受诟病。
尽管争议不断,但祁县却定力十足。时任祁县县委书记吴文胜曾表示,“(乔家大院)单靠国有资本的力量是远远不够的,没有资金,没有开发能力,没有经营团队。我们必须引入外部资本。”其甚至感慨道,乔家大院的体制改革晚了10年。

与这一官方说法相呼应,舆论中不乏“正能量”。以2017年9月中新网发布的《山西晋中推进旅游改革乔家大院逆转亏损经营》为例,该报道就对乔家大院改制给予了肯定。
该报道称:(乔家大院)改制重组后,民营资本承担了景区的全部运营、营销和广告费用,每年为县财政减轻财务费用2200余万元。截至目前已累计投入资金约10亿元,用于景区改造和项目建设,促进了景区的快速发展,一举改变了景区亏损运营,发展后劲乏力的局面。且这种典型示范作用,直接影响带动了灵石王家大院、资寿寺、昔阳石马寺等景区的改革模式。
盛名之下“一地鸡毛”
2017年9月,乔旅股份在新三板上挂牌。“乔旅股份”公开转让说明书显示,公司主营业务收入主要为门票销售收入,此外还包括景区内导游收入、商品销售收入及商业运营收入。2015年、2016年,乔旅股份营业收入中景区门票收入分别达到3131.67万元和7277.19万元,分别占到当年营业收入的99.37%和98.04%。
同时,公开转让说明书披露,乔旅资源开发与新祁旅游2016年7月28日签署的《“乔家大院”商标使用协议》,约定就乔旅资源开发所拥有的“乔家大院”商标权,由新祁旅游向乔旅资源开发支付3000万元人民币商标使用费,乔旅资源开发许可新祁旅游具有使用或同意他人使用“乔家大院”注册商标的权利。并约定该协议签订后,由乔旅资源开发按照国家规定将商标权许可使用协议在国家商标局办理备案手续。
但2018年1月,乔旅股份发布公告称,公司董事会审议通过《关于提议解除〈“乔家大院”商标使用协议〉的议案》,该议案显示,乔旅股份未成功获得“乔家大院”商标使用权。乔旅股份表示,由于祁县人民政府、山西新祁旅游未能按照协议约定,督促商标所有权人祁县乔家大院旅游资源开发有限公司完成相应的商标授权以及备案,时间已超过一年。乔旅股份认为继续履约存在严重困难和障碍,随即要求祁县人民政府返还商标使用权费用本金及利息共计3300万元。
2018年2月,乔旅股份发布公告称,为配合公司战略发展规划调整需要,拟申请终止在新三板挂牌,这距离公司挂牌新三板尚不足半年。
以此为转折点,乔家大院随后连遭打击。2019年7月,文化和旅游部对复核检查严重不达标或存在严重问题的7家5A级旅游景区处理,其中,给予山西省晋中市乔家大院景区取消旅游景区质量等级处理。根据文旅部暗访调查报告,乔家大院摘牌时存在六大问题:旅游产品类型单一、过度商业化、交通游览方面存在不足、安全卫生投入不够、景区综合管理有待提高、资源保护有缺陷。
紧随其后,作为对改制争议的回应,乔家大院迎来一轮“清洗”。
2019年8月,祁县东观镇乔家堡社区党支部书记、主任乔俊川被查(乔家堡为乔家大院景区所在地);10月,乔家大院民俗博物馆原馆长王正前(曾担任乔家大院民俗博物馆馆长达14年,于2016年退休)被查;12月,山西新祁旅游董事长、总经理兼法定代表人杨晓斌被查;12月25日,祁县县委常委、政法委书记许学林(曾担任乔旅股份法定代表人、董事长兼总经理)被查。
在痛心疾首致歉后,以5A复牌工作为核心,围绕景区形象、景区监督/服务/运营体制、景区票价等环节,祁县针对乔家大院展开了全方位整改,尽管祁县乃至晋中市领导层年年表达复牌决心,但时至今日,乔家大院复牌5A承诺始终未能兑现。
或是为了加快5A复牌进度,2021年8月,山西文旅集团与祁县人民政府就全域旅游项目进行签约。山西文旅集团于2020年9月决定收购乔旅股份81%股份及山西智旅博翔100%股权;根据相关报道,2021年8月,上述股权交易完成,收购平台由山西文旅集团控股,晋中市属国企晋中公投集团及中国信达共同出资组建山西文旅集团晋中汇诚投资管理有限公司。
闻旅查询企查查发现,作为乔家大院主要运营方的乔旅股份,目前公司股权结构确已发生变更,山西文旅集团以81%的持股比例,成为乔旅股份的直接控股股东。

据报道,包括强化内容营销、硬件设施更新、信息化建设等方面,乔家大院运营团队为复牌5A做了大量工作。以7月31日为节点,乔旅股份将全力推进复牌工作,保证各项任务有序、有质量地完成,在晋中市政府的带领下打好攻坚战,今年必然完成乔家大院文化园区5A级景区的复牌工作。
官方说法称,山西文旅将以旅游业带动和促进祁县经济社会发展的新理念和新模式,从全要素、全行业、全过程、全方位、全时空等角度推进祁县旅游产业发展,以核心品牌引领祁县全域旅游,持续增强乔家大院景区对整个祁县旅游市场的品牌推动力和对整个山西旅游市场的品牌吸引力。
根据《晋中市“十四五”文化和旅游发展规划》,乔家大院属于重中之重,晋中将重点打造“一城一院一古镇”(平遥古城、乔家大院、静升古镇),规划强调乔家大院要尽快恢复国家5A质量等级,重新编制乔家大院周边环境整治与保护利用方案,合理布局消费业态,尽可能恢复乡土风貌,找回“乔家堡村”和“大红灯笼”记忆;将对乔家大院景区整体保护开发,包括乔家大院周边环境整治、旅游业态开发、昌源河湿地公园等,总投资30亿元。

来源晋中市“十四五”文化和旅游发展规划
在省级文旅集团强势加持、地方政策规划持续助力的当下,作为祁县国资控股、目前仍为乔旅股份二股东的山西新祁旅游于此时被申请破产重整,这无疑将给乔家大院的未来抹上浓重阴影。
另根据《山西晋中国有资产经营有限公司公司债券2021年年度报告》,截至2021年末,公司银行授信总额为41500万元,已使用41500万元,无剩余未使用授信额度。报告期内,公司短期借款展期16920万元,其中920万元为山西祁县农村商业银行股份有限公司1年期借款,已于2022年2月19日通过借新还旧方式进行了置换;其中16000万元为山西银行股份有限公司祁县支行1年期借款,正在积极与山西银行股份有限公司祁县支行沟通解决方案。






















































